一、產品簡介:
油煙機氣味降低度試驗艙是根據 《GB/T 17713-2022 吸油煙機及其他烹飪煙氣吸排裝置》標準中附錄 D“氣味降低度試驗方法”的要求,設計研制一套試驗裝置來完成這一試驗,并達到試驗要求。
二、滿足標準:
GB/T 17713-2022 吸油煙機及其他烹飪煙氣吸排裝置
三、產品要求:
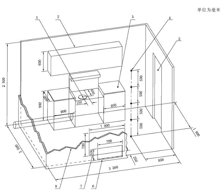
1.實驗室的尺寸:長、寬、高一般為3.5m、2.5m、2.5m,體積為(22±2)m3。實驗室的墻壁應該不受丁酮(MEK)的影響。
2.模擬廚房的試驗室氣密性要求:在試驗室測得高氣味濃度后,1 小時后再測得的氣味 濃度,其下降值不大于 5%。
3.加熱器的功率:2KW/220V。 控溫精度:170±10℃ 熱電偶精度:±℃。
4.每次滴液:300g±1g 的室溫蒸餾水和 12g±0.1g 丁酮的混合液; 每次滴液的時間:30min±15s。
5.被測機的形式:外排式和循環式。

四、系統組成:
1.滴液系統:滴液系統中滴頭與鍋底的距離為(225±25)mm。在國標測試過程中,每29min50s~30min內將290mL蒸餾水勻速滴完。
2.溫控系統:該裝置中應有4根熱電偶,其中兩根測試油溫,兩根測試鍋底溫度,測量精度為±0.5℃。在國標測試過程中,鍋底溫度應始終保持在290℃±10℃;在歐標測試過程中,鍋底溫度應始終保持在250℃±5℃。
3.獨立過濾器:獨立過濾器的氣溶膠懸浮物絕對過濾效率應不低于99.995%。
4.油脂收集器:在鍋上面增加漏斗狀油脂收集裝置,形成圓形喇叭口。





