近日,環儀儀器公司收到客戶的恒溫恒濕試驗箱改造要求,隨后,公司相關技術人員根據用戶的要求,提出了相應的改造方案,下面是改造方案以及相關圖片。
改造要求:
1000L改雙系統-70℃,40℃~-20℃升降溫速度:3℃/min
毛細管:
一級:高3.0*1800,濕2.5*1800,旁2.2*1600
二級:低3.0*1300*2條,旁2.2*1600,泄壓4.0*300
改造方案:
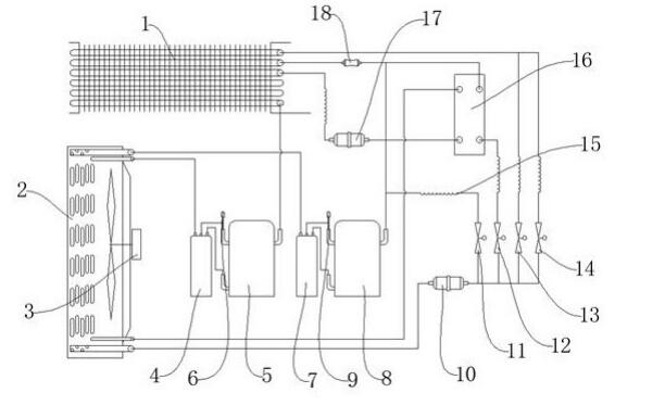
1.本次改造方案由壓縮機一、壓縮機二、冷凝器、毛細管、蒸發器、電磁閥一、電磁閥二、電磁閥三和電磁閥四組成,用銅管將它們連接成一個密封系統,制冷劑使用為氟利昂R404A和氟利昂R23,安全性高。
2.制冷劑液體在蒸發器1內以低溫低壓氣液形態與被冷卻對象發生熱交換,吸收被冷卻對象的熱量后氣化成低壓蒸汽,產生的低壓蒸汽分別被壓縮機一和壓縮機二吸入,經壓縮機一5和壓縮機二8壓縮后以高壓排出。
3.壓縮機一和壓縮機二排出的高壓氣態制冷劑進入冷凝器2,被常溫的冷卻水或空氣冷卻,凝結成高壓液體,高壓液體流經過毛細管時節流,節流后變成低溫低壓的氣液兩相混合物,進入蒸發器。
4.其中的液態制冷劑在蒸發器中吸熱蒸發,進行制冷,產生的低壓蒸汽再次被壓縮機一和壓縮機二吸入,壓縮后排出,如此周而復始,不斷循環,同時電磁閥一、電磁閥二、電磁閥三和電磁閥四可以分別使恒溫恒濕試驗箱具有旁路、低溫、高濕和低濕四中工作模式,從而提高恒溫恒濕試驗箱的使用功能效果。
改造圖片:










